作者:紅星機器 時間:2015-04-20 更新時間:2015-04-20
如果您想了解我們的產品,可以隨時撥打我公司的銷售熱線或點擊下方按鈕在線咨詢價格!
立即撥打電話享更多優惠:0371-67772626
近年來隨著入選礦物品位的逐年降低,以及為了從不同原料中綜合回收有價金屬,我們紅星選礦設備廠家根據螺旋溜槽的選別原理研制了適用于回收微細粒多種礦物的多層自動溜槽選礦設備、提高資源的利用率、使礦產資源得到合理有效的開發利用具有十分重要的現實意義。

多層自動溜槽設備由給礦裝置、給水裝置、礦漿分配器、框架、槽體、均分器、精礦受礦漏斗、尾礦受礦漏斗、底座、溜槽床面及溜槽床面調坡裝置組成。槽體給礦端安裝有礦漿均分器、沖洗水管,且分別與給礦裝置和給水裝置相連,溜槽床面用鋼板或用輕而堅硬的聚乙烯板、玻璃鋼板或用柔軟具有一定彈性的材料制成,溜槽床面長2800mm、寬1000mm、槽體高90mm。每個框架內裝設有2排溜槽,每排20層一樣的溜槽床面,每層溜槽床面由一個平面或多個曲面組合而成,每層溜槽均分成2個溜槽,溜槽安裝在支架支撐上,20層溜槽床面的總面積112m2、高3m,占地面積8m2。床面上下層的垂直間距為50mm,便于觀察和調坡卸礦。從槽體尾端排出的重選精礦及重選尾礦,分別流經精礦受礦漏斗和尾礦受礦漏斗自動排到指定位置。調坡裝置位于槽體給礦端和框架之間。多層自動溜槽結構見圖1。

礦漿沿溜槽斜面流動是借礦物顆粒及重選介質自身重力的作用發生,屬于無壓流動。在穩定的礦漿濃度和礦漿量的條件下,流膜作等速流動,呈層流或帶有濡流特性的流膜。礦漿流速較低約20mm/s,礦漿流厚度約2mm,回收粒度下限達到8μm。礦漿在沿溜槽床面流動過程中借重力分力流動形成的剪切作用,使粒群進行松散分層,重礦物沉積在溜槽床面,間斷排礦收集成為精礦產品,輕礦物被上層礦漿流帶走成為尾礦。

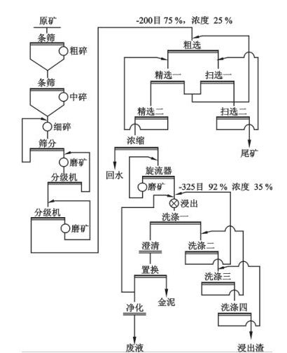
黑龍江烏拉嘎金礦礦石屬難選礦石,現采用兩段閉路磨礦,浮選為一次粗選、三次精選、二次掃選,浮選精礦氰化浸出—逆流洗滌—貴液鋅粉置換提金工藝,處理礦量為1200t/d。通過對黑龍江烏拉嘎金礦礦石可選性及工藝流程的研究,以及對浮選精礦浸渣特性的分析,采用新研制的多層自動調坡平面溜槽床面對浮選精礦浸渣進行工業生產。采用重選法回收其中的自然金、黃鐵礦、黃銅礦等金屬礦物,以及金屬礦物與脈石礦物連生體中的金,提高選礦回收率指標。選礦生產工藝流程及浮選精礦浸渣在流程中的產出位置見下圖。

多層自動調坡平面溜槽工業試驗流程
采用重選法用新研制的多層自動調坡平面溜槽實現了回收浮選精礦浸渣中的自然金、黃鐵礦及其他金屬礦物。選用黑龍江烏拉嘎金礦浮選精礦浸渣,采用新研制的多層自動調坡平面溜槽進行工業試驗,取得了比多層自動固定坡度平面溜槽效果更好的指標,給礦持續時間為5h,處理礦量和回收率均有明顯增加。
采用多層自動調坡平面溜槽,重選可選出產率為40%左右重選精礦,有效地回收了浮選精礦浸渣中的黃鐵礦等金屬礦物,試驗結果見下表。從試驗結果可以看出,在同樣的原礦品位和操作條件下,隨著精礦產率的增加,精礦品位和富集比降低,精礦回收率提高。若降低精礦產率,則精礦品位和富集比增加,精礦回收率降低。

由此可見,紅星多層自動溜槽用于重選回收自然金及密度較大的其他金屬礦物,比采用旋流器、搖床、螺旋溜槽等重選設備具有富集比及精礦產率可調節的幅度較大、回收率高、回收金屬的粒度下限小、生產成本低等優點。用于回收黑龍江烏拉嘎金礦浮選精礦浸渣中的黃鐵礦等金屬礦物取得了理想的經濟技術指標。