高精度、效率高
螺旋直徑:300-3000 mm
長度:3850-17091 mm
應用范圍:該分級機廣泛適用于選礦廠中與球磨機配成閉路循環程分程分流礦沙,或用在重力選礦廠中來分級礦砂和細泥等。
因為您需要,剛好我們專業。歡迎來廠考察!
免費在線咨詢分級機,又叫做砂石洗選機、螺旋洗砂機,主要有高堰式單螺旋和雙螺旋、沉沒式單螺旋和雙螺旋四種類型。
該設備適用于選礦廠中與球磨機配套使用,在閉路循環過程中使沙子和礦物分流、在重力的作用下分級礦砂和細泥、或者在金屬選礦流程中對礦漿進行粒度分級,也可以在洗礦作業中的脫泥、脫水等作業。該分級機具有結構簡單、工作可靠、操作方便、節能等特點。
單螺旋分級機設備實拍
雙螺旋分級機設備實拍
紅星螺旋分級機廠區
分級機是借助于固體粒大小不同,比重不同,因而在液體中的沉降速度不同的原理,細礦粒浮游在水中成溢流出,粗礦粒沉于槽底。由螺旋推向上部排出,來進行機械分級的一種分級設備,能把磨機內磨出的料粉級于過濾,然后把粗料利用螺旋片旋片旋入磨機進料口,把過濾出的細料從溢流管子排出。
螺旋分級機原理示意圖
該機底座采用槽鋼,機體采用鋼板焊接而成。螺旋軸的入水頭、軸頭、采用生鐵套,耐磨耐用,提升裝置分電動和手動兩種。分級機結構:分級機主要由傳動裝置、螺旋體、槽體、升降機構、下部支座(軸瓦)和排礦閥組成。
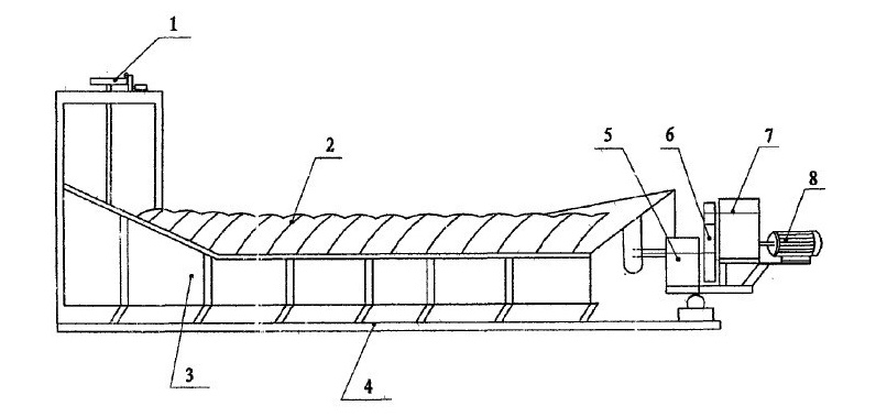
螺旋分級機結構
圖中:1、提升器,2、螺旋葉片,3水槽,4、機座,5軸承,6、齒輪,7、減速器,8、電動機。具體實施方式:在圖中,下邊是機座4,機座4上面中、左部連接著水槽3,水槽3左端連接著提升器1,水槽3中提升器1往右是螺旋葉片,機座4上從右端依次向左固定連接著電動機8、減速器7、齒輪6、軸承5。
以上是紅星機器為用戶設計生產的螺旋分級機設備生產現場。該設備的底板白用耐磨性鋼板鑄造而成,更加敬酒耐用,是用戶非常喜歡的一款選礦設備。
紅星螺旋洗砂機準備裝車
紅星螺旋洗砂機廠區發貨現場
河南鄭州分級機總部地址:河南省鄭州市高新區梧桐街與紅松路交叉口中國高端礦機生產出口基地園區。
分級機價格咨詢熱線:0371-67772626。
| 型號 |
螺旋直徑(mm) |
水槽長度(mm) |
螺旋轉速(r/min) |
處理量(t/d) |
電動機功率(kw) |
外形尺寸(mm≤) |
總重(t) |
||||
| 按返砂 |
按溢流 |
傳動用 |
升降用 |
長 |
寬 |
高 |
|||||
| FG-3 |
300 |
3000 |
12-30 |
80-150 |
20 |
1.1 |
---- |
3850 |
490 |
1140 |
0.7 |
| FG-5 |
500 |
4500 |
8-12.5 |
135-210 |
32 |
1.1 |
---- |
5430 |
680 |
1480 |
1.9 |
| FG-7 |
750 |
5500 |
6-10 |
340-570 |
65 |
3 |
---- |
6720 |
980 |
1820 |
3.1 |
| FG-10 |
1000 |
6500 |
5-8 |
675-1080 |
110 |
5.5 |
---- |
7590 |
1240 |
2380 |
4.9 |
| FC-10 |
8400 |
675-1080 |
85 |
7.5 |
---- |
9600 |
1240 |
2680 |
6.2 |
||
| FG-12 |
1200 |
6500 |
4-6 |
1170-1870 |
155 |
7.5 |
2.2 |
8180 |
1570 |
3110 |
8.5 |
| FC-12 |
8400 |
1170-1870 |
120 |
7.5 |
2.2 |
10370 |
1540 |
3920 |
11.0 |
||
| 2FG-12 |
6500 |
2340-3740 |
310 |
15 |
4.4 |
8230 |
2790 |
3110 |
15.8 |
||
| 2FC-12 |
8400 |
2340-3740 |
240 |
15 |
4.4 |
10370 |
2790 |
3920 |
17.6 |
||
| FG-15 |
1500 |
8300 |
4-6 |
1830-2740 |
235 |
7.5 |
2.2 |
10410 |
1880 |
4080 |
12.5 |
| FC-15 |
10500 |
1830-2740 |
185 |
7.5 |
2.2 |
12670 |
1820 |
4890 |
16.8 |
||
| 2FG-15 |
8300 |
2280-5480 |
470 |
15 |
4.4 |
10410 |
3390 |
4080 |
22.1 |
||
| 2FC-15 |
10500 |
2280-5480 |
370 |
15 |
4.4 |
12670 |
3370 |
4890 |
30.7 |
||
| FG-20 |
2000 |
8400 |
3.6-5.5 |
3290-5940 |
400 |
11-15 |
3 |
10790 |
2530 |
4490 |
20.5 |
| FC-20 |
12900 |
3210-5940 |
320 |
11-15 |
3 |
15610 |
2530 |
5340 |
28.5 |
||
| 2FG-20 |
8400 |
7780-11880 |
800 |
22-30 |
6 |
11000 |
4600 |
4490 |
35.5 |
||
| 2FC-20 |
12900 |
7780-11880 |
640 |
22-30 |
6 |
15760 |
4600 |
5640 |
48.7 |
||
| FG-24 |
2400 |
9130 |
3.67 |
6800 |
580 |
15 |
3 |
11650 |
2910 |
4970 |
26.8 |
| FC-24 | 14130 | 6800 | 490 | 18.5 | 4 | 16580 | 2930 | 7190 | 41.0 | ||
| 2FG-24 | 9130 | 13600 | 1160 | 30 | 6 | 12710 | 5430 | 5690 | 45.8 | ||
| 2FC-24 | 14130 | 13700 | 910 | 37 | 8 | 17710 | 5430 | 8000 | 67.9 | ||
| 2FG-30 | 3000 | 12500 | 3.2 | 23300 | 1785 | 40 | 8 | 16020 | 6640 | 6350 | 73.0 |
| 2FC-30 | 14300 | 23300 | 1410 | ---- | ---- | 17091 | ---- | 8680 | 84.8 | ||